| штат: | |
|---|---|
| Количество: | |
Сгуститель ГНЗ
Toncin
Общий
Обычный обычный сгуститель осуществляет сгущение и обезвоживание посредством гравитационного осаждения материалов, что, однако, имеет низкую производительность и требует большой площади, несмотря на низкие эксплуатационные расходы на оборудование; благодаря постоянному развитию технологии, особенно снижению стоимости флокулянта, стало преобладающим методом оптимизации структуры оборудования и использования флокулянта для облегчения обезвоживания: на основе технологии сгущения британской группы SUNNY и посредством внутренне обновленная техника сгуститель, мы разработали новый центральный привод GNZ, Высокоскоростной сгуститель, SGN, глубокий конус, Высокоскоростной сгуститель, GNYZ Высокоскоростной, тонкий, обычный сгуститель; все эти новые Highrate сгуститель ввели функцию! спрос применения в различных отраслях; благодаря усовершенствованной конструкции оборудования и использованию флокулянта для облегчения обезвоживания недавно разработанный сгуститель обладает такими замечательными характеристиками, как быстрая эффективность загущения, высокая производительность очистки и высокая концентрация нижнего потока, и в настоящее время широко применяется для обезвоживания различных металлических и неметаллических руд, а также разделения твердой и жидкой суспензии в таких секторах, как металлургия, уголь, химическая промышленность, шахты. хвостохранилища и охрана окружающей среды.
Функции
Принятие корпуса резервуара круглой формы, дна резервуара с переменным уклоном или глубокого конуса может обеспечить глубокую фильтрацию и глубокое сжатие, а дно резервуара с переменным наклоном может ускорить удаление загрязнений и удаление высококонцентрированного нижнего потока к центру; Система защиты приводаПоворотный механизм приводится в движение высокоскоростным планетарным редуктором через низкоскоростной гидравлический двигатель или приводной двигатель. Подъем грабли осуществляется подъемным устройством, а поворотные грабли поднимаются с помощью нескольких гидравлических цилиндров или подъемных редукторов, работающих параллельно, что позволяет управлять разгрузкой и снижать нагрузку, чтобы защитить систему привода. Для высокопроизводительной приводной системы используется модульная конструкция, и следует использовать как можно больше стандартных деталей, чтобы удовлетворить требования к серийному производству оборудования, со следующими замечательными характеристиками по сравнению с
Обычный привод: A. Планетарный редуктор обеспечивает стабильный крутящий момент и осевую нагрузку. B. Точный контроль крутящего момента системы может быть реализован посредством измерения датчика гидравлического давления или измерителя крутящего момента на валу двигателя главного привода, чтобы обеспечить эффективную защиту устройства привода. (Привод гидравлического давления запускает подъем или опускание грабли посредством мониторинга гидравлического давления; запуск тревоги и опрокидывание двигателя посредством мониторинга отдельного переключателя давления; Настройка клапана сброса давления в гидравлическом контуре может гарантировать, что приводное устройство абсолютно не может превышать расчетный крутящий момент и превышение крутящего момента невозможны; моторный привод активирует сигнализацию и наклон для подъема или спуска, а также отключение двигателя посредством измерения и мониторинга крутящего момента на валу двигателя.
Система высокоскоростной подачи обладает такими функциями, как адекватная дегазация, контроль скорости подачи пульпы, контроль дозировки флокулянтов и разумная структура подающего цилиндра.
Структура
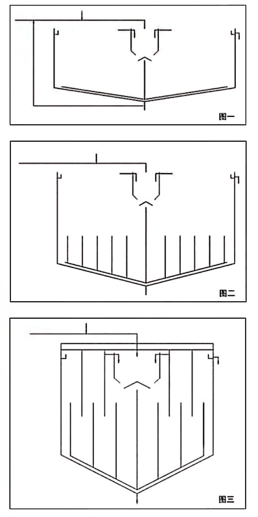
SUNNY с высокой концентрацией сгуститель можно разделить на общую высокопроизводительную пасту сгуститель, пасту высокой концентрации сгуститель и пасту с глубоким конусом сгуститель в зависимости от концентрации нижнего слива.
1.Общая hl-ставка сгуститель, т.е. GNZ центрально-высокоскоростной сгуститель имеет уклон дна резервуара 7-9 градусов и высоту плоской стороны 3 м, в то время как концентрация нижнего слива обычно может достигать 45-50%.
2. сгуститель высокой концентрации, имеет наклон дна резервуара 14–20 градусов и немного более высокую плоскую сторону, чем обычный сгуститель; Также можно использовать технику бокового уклона, например, GNYZ с высоким давлением и высоким давлением сгуститель. Концентрация нижнего слива обычно может достигать 55-60%.
3. Паста сгуститель, 1.e.SGN, глубокий конус, высокий сгуститель, имеет больший наклон 25 ~ 35 градусов для дна резервуара и высоту более 6 м для его плоской стороны (высота будет увеличиваться с увеличением диаметра резервуара). Соотношение высоты и диаметра может достигать 0,4 ~ 1,2, а концентрация нижнего потока обычно может достигать более 60%.
Общий
Обычный обычный сгуститель осуществляет сгущение и обезвоживание посредством гравитационного осаждения материалов, что, однако, имеет низкую производительность и требует большой площади, несмотря на низкие эксплуатационные расходы на оборудование; благодаря постоянному развитию технологии, особенно снижению стоимости флокулянта, стало преобладающим методом оптимизации структуры оборудования и использования флокулянта для облегчения обезвоживания: на основе технологии сгущения британской группы SUNNY и посредством внутренне обновленная техника сгуститель, мы разработали новый центральный привод GNZ, Высокоскоростной сгуститель, SGN, глубокий конус, Высокоскоростной сгуститель, GNYZ Высокоскоростной, тонкий, обычный сгуститель; все эти новые Highrate сгуститель ввели функцию! спрос применения в различных отраслях; благодаря усовершенствованной конструкции оборудования и использованию флокулянта для облегчения обезвоживания недавно разработанный сгуститель обладает такими замечательными характеристиками, как быстрая эффективность загущения, высокая производительность очистки и высокая концентрация нижнего потока, и в настоящее время широко применяется для обезвоживания различных металлических и неметаллических руд, а также разделения твердой и жидкой суспензии в таких секторах, как металлургия, уголь, химическая промышленность, шахты. хвостохранилища и охрана окружающей среды.
Функции
Принятие корпуса резервуара круглой формы, дна резервуара с переменным уклоном или глубокого конуса может обеспечить глубокую фильтрацию и глубокое сжатие, а дно резервуара с переменным наклоном может ускорить удаление загрязнений и удаление высококонцентрированного нижнего потока к центру; Система защиты приводаПоворотный механизм приводится в движение высокоскоростным планетарным редуктором через низкоскоростной гидравлический двигатель или приводной двигатель. Подъем грабли осуществляется подъемным устройством, а поворотные грабли поднимаются с помощью нескольких гидравлических цилиндров или подъемных редукторов, работающих параллельно, что позволяет управлять разгрузкой и снижать нагрузку, чтобы защитить систему привода. Для высокопроизводительной приводной системы используется модульная конструкция, и следует использовать как можно больше стандартных деталей, чтобы удовлетворить требования к серийному производству оборудования, со следующими замечательными характеристиками по сравнению с
Обычный привод: A. Планетарный редуктор обеспечивает стабильный крутящий момент и осевую нагрузку. B. Точный контроль крутящего момента системы может быть реализован посредством измерения датчика гидравлического давления или измерителя крутящего момента на валу двигателя главного привода, чтобы обеспечить эффективную защиту устройства привода. (Привод гидравлического давления запускает подъем или опускание грабли посредством мониторинга гидравлического давления; запуск тревоги и опрокидывание двигателя посредством мониторинга отдельного переключателя давления; Настройка клапана сброса давления в гидравлическом контуре может гарантировать, что приводное устройство абсолютно не может превышать расчетный крутящий момент и превышение крутящего момента невозможны; моторный привод активирует сигнализацию и наклон для подъема или спуска, а также отключение двигателя посредством измерения и мониторинга крутящего момента на валу двигателя.
Система высокоскоростной подачи обладает такими функциями, как адекватная дегазация, контроль скорости подачи пульпы, контроль дозировки флокулянтов и разумная структура подающего цилиндра.
Структура
SUNNY с высокой концентрацией сгуститель можно разделить на общую высокопроизводительную пасту сгуститель, пасту высокой концентрации сгуститель и пасту с глубоким конусом сгуститель в зависимости от концентрации нижнего слива.
1.Общая hl-ставка сгуститель, т.е. GNZ центрально-высокоскоростной сгуститель имеет уклон дна резервуара 7-9 градусов и высоту плоской стороны 3 м, в то время как концентрация нижнего слива обычно может достигать 45-50%.
2. сгуститель высокой концентрации, имеет наклон дна резервуара 14–20 градусов и немного более высокую плоскую сторону, чем обычный сгуститель; Также можно использовать технику бокового уклона, например, GNYZ с высоким давлением и высоким давлением сгуститель. Концентрация нижнего слива обычно может достигать 55-60%.
3. Паста сгуститель, 1.e.SGN, глубокий конус, высокий сгуститель, имеет больший наклон 25 ~ 35 градусов для дна резервуара и высоту более 6 м для его плоской стороны (высота будет увеличиваться с увеличением диаметра резервуара). Соотношение высоты и диаметра может достигать 0,4 ~ 1,2, а концентрация нижнего потока обычно может достигать более 60%.